Hướng dẫn chi tiết lắp đặt motor âm sàn V2- Italia
Motor âm sàn cổng tự động là một dòng thiết bị thông minh với động cơ. Nó được chôn dưới mặt đất kết hợp thiết bị bộ phát và bộ thu tín hiệu. Từ bộ điều khiển trung tâm hoặc kết nối qua smartphone để điều khiển đóng mở cổng một cách dễ dàng. Dưới đây là quy trình chi tiết các bước lắp đặt cổng âm sàn:
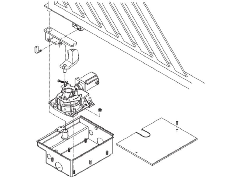
Bước 1: Cố định đế motor âm sàn
- Đào 2 hố chôn âm sàn cho motor và cho ống để chạy ống thoát nước và dây điện
- Sử dụng máy cắt, máy đục bê tông để đào hố chôn hộp.
- Đi đường ống thoát nước từ motor về hố ga hoặc về phía ngoài đường.
- Đi dây điện từ nguồn cấp thông qua CP, đi về vị trí đặt bộ điều khiển trung tâm, âm trong tường. Sử dụng ruột gà hoặc ống nhựa để đi dây điện. Đi dây điện từ bộ điều khiển về mỗi bên motor. Sử dụng một cặp dây hai ruột hoặc một dây 4 ruột với dây điện 1.5 trở lên.
- Khi hoàn thành xong hố để chôn đế hộp âm sàn và dây điện xong thì đổ bê tông xuống sao cho cân bằng. Sử dụng thước để đo cân bằng. Nếu không cân bằng tỉ lệ, bắt buộc phải chỉnh lại để tránh ảnh hưởng quá trình sử dụng.
- Sử dụng hồ dầu hoặc xi măng, cát chít lại những vị trí đã đục và đào đường ống thoát nước.
- Khi đế đã cứng và chắc chắn, tiến hành dựng cổng và lắp đặt motor vào ngày hôm sau.

Bước 2: Tiến hành lắp đặt motor, đấu điện
- Trước khi lắp đặt motor thì cần vệ sinh lại đế hộp.
- Đặt motor vào hộp đế tiến hành đấu điện.
- Bắt vít bo mạch lên tường, căm mạch nhận sóng vào bo mạch

Lưu ý:
Cánh cổng mở xoay hướng nào thì lắp củ motor xoay hướng đó.
Vặn thật chặt bốn chân giữ motor
Bước 3: Cài đặt chương trình
Chi tiết có trong sách hướng dẫn cài đặt chương trình. Có thể cài đặt đóng mở cửa, thời gian mở, độ trễ mở đóng của 2 cánh cổng,…

Elite Houses – giải pháp chuyên nghiệp về mô tơ cổng, cửa tự động
Đội ngũ tư vấn của Elite Houses luôn nhiệt tình, chu đáo phục vụ mọi lúc mọi nơi. Đến với công ty chúng tôi, chắc chắn khách hàng có thể lựa chọn được sản phẩm ưng ý nhất. Chế độ bảo hành uy tín, cam kết dịch vụ sau bán hàng là số 1. Với kinh nghiệm và uy tín đặt lên hàng đầu, Công ty Elite Houses là đối tác đáng tin cậy cho các đơn vị xây dựng, thiết kế thi công.
- Miễn phí lắp đặt nội thành Hà Nội
- Bảo hành chính hãng 02 năm tại chân công trình
- Dịch vụ bảo trì hỗ trợ khách hàng trong suốt thời gian sử dụng sản phẩm.
Hotline: 0528051986







